亚马逊未来物流体系要逆天!挖地道建空中配送航母

来源:智东西 | 2017-02-09 22:38

  在日前的超级碗上,亚马逊花费超过150万美元投放了一则10秒长的广告,推介了亚马逊的智能音箱Echo,以及无人机送货服务Prime Air。

  

 

  而最近的一系列专利披露显示,这家由在线零售成长起来的科技公司正打算用新技术反哺其零售业务,从物流入手,打造未来无人化的智能快递服务。在其整个无人物流系统设想中,包含了已有的无人化仓库、无人机,同时还有自动驾驶货车,乃至更加“科幻”的空中仓库以及地下传送带。

  智东西从交付、运输、仓储这三个物流的核心环节,揭示亚马逊打造超前的智能物流体系的巨大野心。

  一、Prime Air 无人机解决快递交付“最后一公里”

  2013年年底,亚马逊CEO贝佐斯首次宣布了公司准备推出面向消费者的无人机快递服务Prime Air,旨在半小时内将重量低于5磅的货物,用无人机投递到客户家中。物流的“最后一公里”是整个流程中成本最高的一个环节,需要耗费大量的时间与人力,如果能用无人机实现快递无人化交付,无疑能节省不少物流开支,同时也能为消费者提供更多便利。

  然而这一等就是三年。直到去年12月,亚马逊才正式用Prime Air向客户完成了首次交付。但在这三年中,亚马逊并没有闲着,而是不断地迭代着Prime Air的无人机产品,提升其续航、最大速度,更改气动外形以获得更高的动力效率,并且请来了计算机视觉团队,为其添加了自动避障的能力。

  

  亚马逊此次让Prime Air在超级碗亮相,也传递出了一个信息——在公司未来的物流系统中,无人机将是一股中坚力量。

  空中仓库、路灯充电站 黑科技为无人机保驾护航

  不过,尽管无人机送货显得高大上,外界的质疑却从未停息过。人们的怀疑主要集中在无人机的续航和安全性能方面,认为现有的电池技术和无人机飞控一则无法让无人机支持长时间飞行,二则难以应对恶劣天气。

  亚马逊也认识到了这些问题,在其去年12月被通过的一项专利中,亚马逊设想通过建设浮空仓库作为无人机的中转站来解决。

  

  (图为亚马逊的浮空仓库专利图,图左为无人机,右为货物)

  在这项专利中,亚马逊提出一种形态类似于飞艇的大型空中仓库,内部可以装载大量货物及无人机。这艘飞艇会先在地面满载,然后放飞到空中,飞抵到有密集送货需求的区域上空。此时无人机再搭载货物从天而降,完成最后阶段的交付。而无人机需要返程时,亚马逊则会安排专门的“飞梭”,集体装载无人机返回空中仓库,准备下一轮货物交付。以这种子母飞行器接力的方式,无人机能在一定程度上克服续航时间不足的问题。

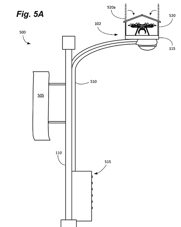
  而在去年7月被批准的一项专利中,亚马逊则准备改造路灯,使其成为集无人机充电站、无人机临时机库以及快递取件点三种功能于一体的地面设施。

  

  (图中520为无人机机库,515为取件箱)

  在这项专利的描述中,路灯顶部可建设供小型无人机停靠的停机坪或机库,并配备充电接口或可更换电池。当无人机电量不足时,可以停靠在路灯上充电或者快速更换电池再度起飞。而在恶劣天气下,带有屋顶的机库可以成为无人机的临时庇护所,使其不会因为糟糕天气出现安全问题。

  而更先进的设想则是在路灯上安装快递取件箱,无人机交付货物时路灯顶部平台自动打开,货物沿着中空的灯杆滑下,进入预定的取件箱中供取。

  

  另外亚马逊还申请了无人机形成密集编队以吊装大型货物的专利。

  

  (图为亚马逊无人机集群专利)

  在其设计中,多架无人机能够连接起来,紧紧抱作一团,共享电量以及飞行信息,作出统一的飞行动作,而如果有需要的话,单个无人机也能脱离,去完成附近地区的货物交付。这种设计能够提高无人机应对恶劣天气(主要是大风)的能力,以及进行大型货物运输的能力,同时脱离功能也使其有足够的灵活性。不过这将极大地挑战无人机的电源管理技术以及飞控技术。

  此外亚马逊也申请了能够让无人机在货车顶部降落,搭顺风车节能的专利。它使无人机能够和亚马逊可能出现的自动驾驶货车整合起来,更好地完成快递交付的任务。

  二、自动驾驶货车、地下传送带化解运输难题

  司机不够 自动驾驶货车来拯救

  今年1月,亚马逊一项关于自动驾驶车辆的专利被通过,也证实了媒体日前的猜测——亚马逊有发展自驾自动驾驶货车车队的想法。

  这项专利描述了一种使自动驾驶车辆通过车联网与交通管理中心进行数据交换的技术,通过这种技术,自动驾驶车辆可以从交管中心获知潮汐车道的车流方向变化,从而提前规划好行车路径,避免产生交通事故。更进一步,这项技术还能让自动驾驶车辆获取整个地区的交通情况,避开拥堵片区,设计效率最高的行车路线。

  

  在美国,货车每年承载了70%的货物运输量,然而货车司机越来越稀缺。美国货车运输协会称,现有卡车司机的平均年龄为63岁——一群胡子泛白的老头。新人不愿进入这个行业,旧人正不断老去,使得货车司机成为了宝贵资源。目前美国货车司机的短缺为48000人,而到2024年,这个数字会变成175000人。

  要请动这样的“稀缺人才”,需要付出大量的成本。除此之外,从货运代理商处联系司机,往往还需要支付额外的中介费用。在2016年第三季度的财报中,亚马逊披露,其运输成本较前年同期增长了43%,达到了17亿美元。

  对亚马逊来说,削减成本的最好方式,或许就是“留车不留人”——建立自动驾驶货车车队。这在以往是不可能之事,但自动驾驶技术的快速发展,让这种设想正在逐渐向现实靠拢。去年8月,Uber收购了自动驾驶公司奥托(Otto),后者专注于货车自动驾驶技术,两位主要创始人莱文达沃斯基与罗恩,与谷歌的自动驾驶项目有着紧密关系。而在10月,奥托就用自动驾驶货车完成了首次运货——全程193公里,测试人员只在旁进行了监督,并未干预行车。

  

  自动驾驶技术的逐渐成熟对亚马逊来说是一个重大的利好消息。这家零售巨头为了建设自己的物流渠道,在去年购置了数千辆卡车。如果能够应用自动驾驶技术,亚马逊可以省下大量维持庞大司机队伍的人工成本;同时,也无需为司机短缺造成的物流压力担忧。

  超现实的地下传送带

  在空中与地面的渠道都有利用方案后,亚马逊看上了地下空间。这个专利描绘的物流系统图景,让当今世界上任何的物流网络都相形见绌——亚马逊想绕开繁忙的地面交通,在地下建设一条条传送带,将货物直接从仓库经由地下送到客户手中。这样的传送带可以连接火车站、机场、物流中心、取件箱,甚至是客户的家。

  

  而如果有加急件的话,亚马逊还有升级版的“真空管道运输”。如果你觉得这个概念似曾相识的话,没错,就是它,埃隆马斯克口中的“超级高铁”——通过建设真空的运输通道,让封闭的载具在其中通过电磁力高速运动,快速抵达目的地,其最高时速可超过1000公里。

  

  这种宏大的物流系统的优点显而易见——绝对的高效。然而背后难以想象的成本使其成为了一个近乎疯狂的设想。但是这并不是一个毫无可行性的计划,只要运行足够长的时间,它就能值回建设成本,乃至革新物流行业。如果能设法将城市中可用的地下管道加以利用,成本投入还能进一步降低。而一家英国公司Mole Solutions已经建造了一段105米长的货物运输管道来测试这项技术。

  三、仓储 机器人占领仓库

  在仓储方面,亚马逊的智能化脚步迈得最早。2012年,亚马逊以8亿美金收购了机器人公司Kiva,获得其智能仓库机器人系统Kiva System。这一系统使用大量运货机器人,它们可以举起重达700磅(约合320公斤)的货物,而且无需人类操作。机器人由一套算法进行统一控制,操控它们按畅销度和相关度对货物进行优先度排序,搬运货柜至选件工人面前,将传统的“人找货”模式变为“货找人”。据Kiva的创始人Mick Mountz称,这套系统比传统的人工方式效率提升了2-4倍。

  

  在这套系统的帮助下,仓库工人需要做的只是产品分类与包装,省去了大量繁琐的找货步骤。也正是得益于该系统,亚马逊在半小时内就可以完成一个订单的处理。

  不过亚马逊还不满足,因为货物的分拣与包装,仍然是由人来完成的。在遍布全球的仓库中,这家公司雇佣了超过10万人——和机器人比起来,工人的价格还是太高了。于是亚马逊在2015年举办了一场“机器人分拣大赛”,希望从全球各地的参赛队伍中获得足够优秀的机器人运动控制技术,以替代工厂中的工人做一些货物抓取之类的工作。不过结果证明,在做复杂运动这个方面,机器人和人类相比还是差得太远。即使是获得第一名的队伍,也只能在20分钟内将12件物品中的10件放入指定位置,而对人类来说,这就是1,2分钟的事。

  也就是说,在未来的一段时间内,亚马逊仓库内的机器人仍然得与人类共事。不过随着新技术的发展,机器人的运动能力也在提升,波士顿动力的新机器人Handle都能蹦跶,能双手搬东西,能扔纸飞机了。在成本问题得以解决后,未来仓库里的机器人必然会越来越多,而人类将越来越少。

  四、用科技武装物流 自动驾驶或成突破口

  从仓储到运输至交付,从天空到地面至地下,亚马逊意图打造一个全方位立体化的智能物流体系。

  仓储

  亚马逊在建设无人物流的设想中,仓储这一环节已初见成效。对Kiva的收购使亚马逊的仓库实现了相当程度的自动化,亚马逊的零售能取得今日的成就,这一方面功不可没。并且,亚马逊还在不断扩大着其仓库机器人的队伍,目前已经超过4万台。

  交付

  而在这一环节上,亚马逊让Prime Air在超级碗上露脸,似乎也在暗示,无人机交付快递离消费者们已经不远了。

  对亚马逊来说,此前一直困扰其无人机交付业务发展的监管问题正在消解,美国联邦航空管理局(FAA)准备划定低空空域以供无人机飞行。

  不过无人机续航这个老大难问题,如果电池技术没有显著突破,亚马逊还是只能依靠兴建专利中所描述的基础设施来解决。

  运输

  运输环节上,地下传送带这个方案实在太过于宏大,其花费的成本对于任何商业机构都是一个天文数字。或许未来当地面交通承载力达到上限时,大公司们会联合起来开发这个项目,但肯定不是现在。

  从目前来看,亚马逊最有希望取得突破的,其实是自动驾驶货车。

  首先,这两年自动驾驶技术取得了很大突破,先进的技术团队,比如谷歌,其自动驾驶系统的安全系数已经可以比肩人类驾驶员。

  其次,物流货车大部分时间都是在高速公路上运行,这意味着其需要应对的环境比城市交通要简单得多。相应的,实现货车自动驾驶的难度也比较小,比乘用车更容易落地。

  再次,亚马逊已经拥有了一支包含数千辆货车的物流车队,一旦自动驾驶技术完全成熟,可以通过改装应用新技术,快速建立起无人驾驶货车队伍。

  结语:智能科技让网上书店蜕变为商业巨头

  尽管在亚马逊的智能物流体系中,许多内容都显得很未来取向甚至是异想天开,但是它却代表了先进的技术解决方案。在过去的方法已经无法应对复杂的状况时,全面智能化这样更加未来的想法未必不是更好的出路。否则京东也不会发展“三无物流(无人仓、无人机、无人配送)”,阿里巴巴也不会学习Kiva开发仓库机器人。

  另外一方面,亚马逊有着近4000亿美元的市值为其理想背书。这家曾经人们认知中的“网上书店”靠着新技术实现了华丽转身,成为了现今最成功的科技公司之一,去年其在云计算、人工智能方面的成果,都为人们称道。

  而这一智能物流体系的设想,则显示亚马逊要把科技基因彻底注入公司的所有业务。亚马逊的宏大愿景具体何时才能实现?没人能给出确切回答。但这家零售起家的巨头,在智能化的浪潮之下,凭借科技力量的加持,市值已经超过了美国八大传统零售商的总和。

【声明】物流产品网转载本文目的在于传递信息,并不代表赞同其观点或对真实性负责,物流产品网倡导尊重与保护知识产权。如发现文章存在版权问题,烦请联系小编电话:010-82387008,我们将及时进行处理。

10秒快速发布需求

让物流专家来找您